游族网路净利下修75%,股价开盘一字跌停
2020.04.29 10:33:41
格隆汇APP
原标题:游族网路净利下修75%,股价开盘一字跌停 来源:格隆汇
发布2019年度业绩快报修正及致歉公告,大幅下修去年全年业绩。公司今日开盘即录得一字跌停,报18.5元,最新市值164.37亿元。今年年内,游族网络股价累计跌12%。
根据业绩快报修正公告,公司去年全年营收、营业利润及归母净利润修正前后分别下降10%、84%及75%。
修正前,公司实现营业总收入35.16亿元,同比降低1.82%;归属于上市公司股东的净利润5.50亿元,同比降低45.47%;基本每股收益0.64元。修正后,公司营收降至32.21亿元,同比降低10.07%;归属于上市公司股东净利润降至2.57亿元,同比降低74.58%;基本每股收益0.30元。
(图源:公司公告)
公司表示,其下修年度业绩快报的主要原因包括受疫情影响,财务部门业绩快报出具时财务信息采集受限进而影响成本确认金额;期后审计过程中发现个别应收款项及长期股权投资存在减值(经再次测算,应收账款单项计提导致营业利润下降5440.17万元;长期股权投资单项计提导致减少1195.41万元);及部分游戏版权金到期不再续签,导致营业利润下降1987.10万元。
此前几年,游族网络营收及净利润均维持较稳定正增长。按修改后的业绩快报,游族网络去年业绩出现了大幅滑坡。
(图源:同花顺iFinD)
截至今年3月13日,公司董事长兼总经理林奇持股比例为30.81%,持股较上一报告期减少2110万股,持股比例下降2.38%。
(图源:同花顺iFinD)
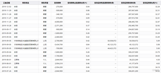
去年从下半年开始,林奇就已经频繁减持手上股份,持股比例亦从34.84%下降至年底的32.15%。去年全年,公司股价累计涨幅为25%。
(图源:同花顺iFinD)
就公司去年出现的业绩大幅下行,其董事长兼大股东林奇去年下半年开始的频繁减持动作颇值得玩味。
